Core Overview
The PLL serves as the core clock source for modern communication, radar, and instrumentation systems, and its performance directly affects key system metrics such as communication quality, measurement accuracy, and anti-interference capabilities. With the rapid development of communication technology, the market has set more stringent requirements for PLLs. Broadband coverage, adaptability to various scenarios, and system-level cost optimization have become the core demands of the current era.
Bonray has always focused on the core needs of different application scenarios, continuously developing competitive products and solutions to empower diverse application requirements.
Focusing on Customer Needs, Providing Diverse Scenario RF Solutions
Bonray has been dedicated to the research and development and industrialization of RF chips for many years, deeply understanding the core needs of frequency sources in various application scenarios. Leveraging its mature technology platform, Bonray's series of PLL products have been applied in multiple industry fields, providing customers with key chip support and innovative solutions, demonstrating extensive adaptability and reliability.
1.More Than Just a Frequency Source!
Bonray's PLL series integrates direct frequency modulation and phase modulation functions, which can be directly used for video and audio transmission, and features zero delay, high sensitivity, low power, simple application, and low overall cost.
It can provide a complete RF solution for wireless audio and video transmission systems, especially widely used in the field of drones.
- Supports analog signal modulation and transmission, as well as reception local oscillator frequency conversion
- Compatible with mainstream transmission frequencies, can customize any frequency point audio and video transmission scheme
- Can provide customized transmission schemes according to the final transmission power requirements, achieving long-distance transmission
- Provides complete solutions from chips to systems, suitable for various application scenarios such as drones, voice transmission, etc.
2.Wireless Shielding System
Bonray's wireless shielding system solution, with the wideband coverage and fast frequency switching characteristics of the PLL chip, combined with a complete transmission chain, can achieve efficient interference with multi-band signals.
- Fast frequency hopping, strong interference capability
- Widely used in scenarios with strict requirements for wireless shielding, such as educational examination rooms, prison management, etc.
3.Traffic Management System
Bonray provides a dedicated RF solution for roadside parking charging systems, achieving efficient identification and electronic billing of vehicle units through a stable and reliable wireless communication link.
- Provides an RF link solution that includes high-performance PLLs, mixers, and transceivers
- Features high sensitivity, strong anti-interference, multi-band compatibility, and low power
- Widely used in highway toll stations, intelligent parking systems
In addition to the above applications, Bonray's PLL products have been successfully expanded into fields such as dedicated communication networks, medical systems, and instrumentation. We always focus on the unique technical challenges of different application scenarios and look forward to in-depth cooperation with customers to jointly develop more competitive product solutions, empowering diverse application requirements.
Continuous Innovation, Launching the Next Generation PLL Product BR9069FLJ
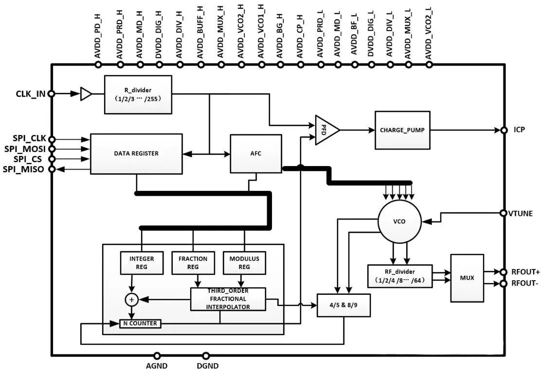
Based on the continuous exploration of industry needs, Bonray has launched the next-generation high-performance PLL BR9069FLJ. The product, combined with an external loop filter and reference clock, achieves fractional-N or integer-N PLL frequency synthesis. Typical supply current is 55 mA at 3.3 V and 65 mA at 1.2 V, making it ideal for low-power applications.
The BR9069FLJ integrates a VCO with a fundamental tuning range of 3 GHz to 6 GHz. On-chip divide ratios of 1, 2, 4, 8, 16, 32, or 64 extend the RF output down to 47 MHz.All registers are programmed via a standard SPI interface.
BR9069FLJ Overview
Product Features
Output Frequency Range: 47MHz~6000MHz
Fractional-N Frequency Synthesizer
Programmable 1/2/4/8/16/32/64 frequency division output
Supply Voltage: 3.3V、1.2V
Dual-Modulus Prescaler: 4/5、8/9
SPI Output
Package: QFN-32 (5mm*5mm)









